3.2 Прозвонка и маркировка жил кабеля с помощью резисторов и омметра
Схема прозвонки жил кабеля с помощью резисторов и омметра приведена на рисунке 3.2.
Рисунок 3.2 Схема прозвонки жил кабеля с помощью резисторов и
По этому методу прозвонку жил кабелей или проводов может производить один оператор. Порядок прозвонки следующий:
1) Собирается «линейка» из последовательно соединённых резисторов с одинаковыми величинами номинальных сопротивлений. Количество резисторов должно быть равно количеству жил прозваниваемого кабеля.
2) Свободный вывод первого резистора линейки и один зажим омметра PR1 присоединяют к общему проводу.
3) К первому зажиму блока ХТ1 присоединяют вывод линейки, находящийся между первым и вторым резисторами. Ко второму зажиму блока — вывод линейки, находящийся между вторым и третьим резисторами. И так до свободного вывода последнего резистора линейки, который присоединяют к последнему зажиму блока ХТ1.
4) На другом конце кабеля оператор поочерёдно касается выводов жил кабеля на блоке зажимов ХТ2 свободным вторым зажимом омметра и по его показанию определяет номер зажима, соответствующий прозваниваемой жиле.
Номинальные сопротивления резисторов линейки следует выбирать в зависимости от конкретных условий, то есть от числа прозваниваемых жил, их материала, длины и сечения, а также от класса точности применяемого омметра.
Если сопротивления резисторов линейки малы и соизмеримы с активным сопротивлением жил, то маркировка может оказаться недостоверной.
Также не следует выбирать резисторы со слишком большим сопротивлением, так как с ростом числа жил будет падать чувствительность омметра, и маркировка также может оказаться недостоверной.
На практике обычно выбирают величину номинального сопротивления резисторов в пределах 10. 200 Ом.
В связи с тем, что в цепи омметра токи ничтожно малы, величина мощности рассеивания резисторов роли не играет. Принимается в расчёт лишь удобство сборки линейки и надёжность её эксплуатации. Обычно применяют резисторы с мощностью рассеивания в пределах 0,5. 1 Вт.
В настоящей работе линейка собрана из десяти резисторов (по числу жил кабеля), каждый из которых имеет величину номинального сопротивления Rн = 100 Ом и мощность рассеивания Pн = 0,5 Вт.
Если при прозвонке на втором зажиме блока ХТ2 омметр покажет 900 Ом, то это означает, что на второй зажим приходит девятая жила кабеля. Или, например, если на седьмом зажиме блока ХТ2 омметр покажет 400 Ом, то это означает, что на седьмой зажим приходит четвёртая жила кабеля.
3.3 Прозвонка жил кабеля с помощью диодной приставки и омметра
Этот способ прозвонки жил позволяет производить маркировку одним оператором. Схема прозвонки приведена на рисунке 3.3.
Порядок прозвонки следующий:
1) Собирается приставка из встречно — последовательно соединённых диодов, число которых должно быть равно числу подлежащих прозвонке жил кабеля.
2) Свободный вывод первого диода и один зажим омметра присоединяют к общему проводу.
3) К первому зажиму блока ХТ1 присоединяют вывод приставки, находящийся между первым и вторым диодами. Ко второму зажиму блока — вывод, находящийся между вторым и третьим диодами. И так до свободного вывода последнего диода в приставке, который присоединяют к последнему зажиму блока ХТ1.
4) На другом конце кабеля оператор поочерёдно касается выводов жил кабеля на блоке зажимов ХТ2 свободным зажимом омметра до тех пор, пока омметр не покажет сопротивление цепи, близкое к нулевому значению. Это означает, что к этому зажиму блока ХТ2 приходит первая жила кабеля. Результаты заносятся в кабельный журнал.
Рисунок 3.3 Схема прозвонки жил кабеля с помощью линейки диодов и омметра
5) Оператор присоединяет свободный зажим омметра к зажиму блока ХТ2, к которому подходит первая жила кабеля, отсоединяет зажим омметра, присоединённый к общему проводу, и поочерёдно касается им выводов жил на блоке до тех пор, пока омметр не покажет сопротивление цепи, близкое к нулевому значению. Так находится зажим, к которому подходит вторая жила кабеля. Результаты заносятся в кабельный журнал.
Операции повторяются до тех пор, пока все выводы кабеля не будут промаркированы.
Проверка и маркировка электрических цепей
Для проверки целостности жил проводов и кабелей используется источник тока и прибор-индикатор, сигнализирующий о замыкании цепи. Во время проверки определяется правильность соединений цепей, отсутствие обрывов и замыкания проводов между собой или на землю и проводится маркировка участков цепей.
При маркировке целых участков цепи, не содержащих никаких элементов электроаппаратов и состоящих только из токопроводящей жилы, обоим концам участка (начало и конец) жилы должно быть присвоено одинаковое маркировочное обозначение. Проверка целостности жил осуществляется различными способами, которые можно объединить в две группы.

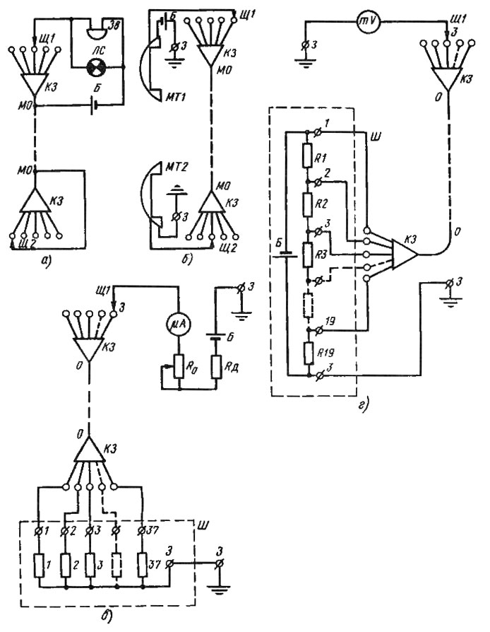
Рис. 43. Схемы проверки электрических цепей:
а, б — способами первой группы; в, г — способами второй группы; а — с помощью светозвукового сигнального устройства; б — с помощью микротелефонных трубок; в — с шифрованием сопротивлениями, г — с шифрованием потенциалом.
Щ1, Щ2 — щупы; Зв — звонок; ЛC — сигнальная лампа; Б — сухой элемент; 3 — заземление; МО — металлическая оболочка; КЗ — концевая заделка; МТ — микротелефонная трубка; Ш — шифратор; R1 — R19 — потенциометры; R0 — установочный резистор; О — неметаллическая оболочка; Rд — добавочный резистор.
В первую группу входят способы, при которых жилы в процессе проверки ничем не отличаются друг от друга и маркировка на них наносится произвольно по мере отыскания соответствующих начал и концов (рис. 43, а, б). Для способов первой группы требуется простое оборудование. Однако проверка этим способом отличается трудоемкостью и производится, как правило, двумя рабочими.
Вторая группа способов проверки основана на предварительном шифровании жил, имеющих определенную маркировку на одном из концов потока проводов (рис. 43, в, г). Шифрование жил проводится по какому-либо отличительному признаку по сравнению с другими жилами: по различным сопротивлениям жил, по различным электрическим потенциалам жил (подаваемым от вспомогательного устройства) или по различным направлениям тока в жилах. На втором конце потока проводится дешифрование жил путем опознавания их с помощью того или иного прибора. На концы опознанных жил наносится маркировка, соответствующая их маркировке в начале потока. Вторая группа обеспечивает более высокую производительность работы и позволяет проводить проверку одним рабочим, однако, требует более сложного и дорогого оборудования (в сравнении со способами первой группы).
Все способы определения целостности жил кабелей и проводов предполагают наличие в потоке, по крайней мере, одной исправной цепи, легко опознаваемой на обоих концах потока. Обычно такой цепью служит цепь заземления или металлические оболочки кабелей.
Для маркировки жил кабелей применяют приставку У МЖК, которая представляет собой магазин резисторов и подсоединяется к мегаомметру. Недостатками этого комплекта приборов являются громоздкость и необходимость вращения рукоятки мегаомметра при измерениях.
Для проверки кабелей с небольшим числом жил (например, силовых) применяют мегаомметр без приставок. В этом случае требуется иметь несколько резисторов, номинальные сопротивления которых достаточно велики и резко отличаются от сопротивления жилы кабеля и друг от друга. На одном из концов кабеля жилы заземляются через разные резисторы. Одну из жил заземляют непосредственно. Измеряя сопротивление жил с другого конца кабеля мегаомметром с использованием земли в качестве обратного провода, нетрудно определить их по резко различающимся сопротивлениям (вместо мегаомметра можно использовать переносные измерительные мосты или омметры).
Для оконцевания изоляции жил разделанных проводов и контрольных кабелей и нанесения маркировочных обозначений применяют маркировочные муфты, отрезки поливинилхлоридных трубок, а также наборные оконцеватели из липкой маркировочной ленты. Кабели в целом в зависимости от их назначения маркируют пластмассовыми или алюминиевыми бирками различной формы.
| Форма бирки | Марка бирки | Вид кабелей | |
| алюминиевой | пластмассовой | ||
| Круг | БКА-1 | БКП-1 | Силовые выше 1000 В |
| Прямоугольник | БКА-2 | БКП-2 | Силовые до 1000 В |
| Овал | БКА-3 | БКП-3 | Контрольные |
| Шестигранник | БКА-4 | БКП-4 | КИП и А |
| Квадрат | БКА-5 | БКП-5 | Связи |
На маркировочные муфты, оконцеватели и манжеты, а также на оболочки кабелей маркировку наносят несмываемыми чернилами с помощью стеклянных чертежных трубочек.
Для маркировки с использованием микротелефонов применяют переговорное устройство ПУ-71, выпускаемое серийно.
- Монтаж электропроводок
- Ремонт электропроводок
- Монтаж и обслуживание шинопроводов
- Устройство и ремонт кабельных линий
- Устройство и ремонт воздушных линий
- Соединение, ответвление и оконцевание жил проводов и кабелей
- Обслуживание электрических сетей
- Испытания и наладка электрических сетей после ремонта
Прозвонка кабелей

Для правильного подключения кабелей к контактам электрических машин, приборов и аппаратов проводят их прозвонку.
Простейшая прозвонка кабелей выполняется с помощью лампы и батарейки, т. е. жилы одного конца кабеля (на рисунке — левом) произвольно маркируют и к первой из них подключают провод от батарейки. Затем присоединяют к лампе проводник и им поочередно касаются жил на другом конце кабеля. Если при касании лампа загорается, значит это жила, к которой присоединен провод от батарейки.
Также прозвонку можно выполнить без проводника, соединяющего оба конца кабеля. Таков же принцип прозвонки с применением мегомметра, если он оказывается присоединенным к концам, принадлежащим одной и той же жиле, его стрелка показывает нуль.
Рассмотренные способы прозвонки удобны в том случае, если оба конца кабеля расположены недалеко друг от друга и ее может выполнить один человек. Если концы длинного отрезка кабеля находятся в разных помещениях здания или в разных зданиях, применяется наиболее универсальный способ прозвонки с помощью двух телефонных трубок.
Для этого телефонные и микрофонные капсюли в трубках соединяют последовательно, и в эту цепь включают сухой элемент или аккумулятор с напряжением 1—2 В. Этот способ удобен также тем, что монтеры могут согласовывать свои действия, переговариваясь по телефону.
На одном конце кабеля монтер присоединяет один проводник трубки к оболочке кабеля, а другой — к любой из его жил. На другом конце кабеля второй рабочий присоединяет один проводник трубки к оболочке кабеля, а другой — поочередно к его жилам. Если в трубке слышится щелчок и монтеры слышат друг друга, значит проводники трубки присоединены к одной жиле кабеля.
В некоторых случаях прозвонка выполняется с помощью специального трансформатора с несколькими отводами от вторичной обмотки (рис. 10.18, г). В этом случае начало обмотки подключают к заземленным оболочкам кабеля, а отводы — к его жилам. Далее запитывают каждую из жил. Измерив напряжение между жилами и оболочкой на противоположном конце кабеля и используя записанные значения напряжения, нетрудно определить принадлежность концов к той или иной жиле и выполнить маркировку.
Для маркировки жил силовых кабелей используют отрезки виниловых трубок или специальные оконцеватели, на которых несмываемыми чернилами делают надписи.

Рис. 1. Схемы прозвонки кабелей: а, б — с помощью лампы, в — с помощью телефонных трубок, г — с использованием специального трансформатора
Для повышения надежности электроснабжения потребителей, а также в случае, если мощности одного питающего кабеля недостаточно для нормальной работы электроустановки, применяют несколько параллельно проложенных кабелей. При этом они должны подключаться к электрооборудованию с соблюдением порядка чередования фаз. Если это условие не будет соблюдено, то включение питания вызовет короткое замыкание.
Определение порядка чередования фаз при параллельном подключении кабелей называется фазированием кабелей.
Пусть шины двух распределительных устройств (рис. 2) связаны между собой кабелем 1 , по которому электроэнергия передается от РУ-1 к РУ-2. Для большей надежности электроснабжения параллельно работающему кабелю проложен кабель 2, причем его жилы также должны быть подключены к сборным шинам так, чтобы шина А в РУ-1 оказалась соединенной с шиной А в РУ-2. Это требование относится и к шинам В и С.

Рис. 2. Схема фазирования кабелей
В установках напряжением 380/220 В кабель фазируют с помощью вольтметра, рассчитанного на линейное напряжение сети, т. е. кабель 2 в РУ-1 подключают к шинам посредством рубильника, а в РУ-2 вольтметром измеряют напряжение между одной из жил этого кабеля и той шиной, к которой предполагается ее присоединить.
Если вольтметр показывает линейное напряжение, это означает, что жила кабеля и шина распределительного устройства принадлежат к разным фазам, и соединять их нельзя. Нулевое показание вольтметра свидетельствует о том, что жила кабеля и шина имеют одинаковый потенциал и, следовательно, принадлежат к одной и той же фазе, а поэтому их соединение возможно. Точно так же фазируют две другие жилы кабеля.
При отсутствии вольтметра можно воспользоваться двумя последовательно соединенными лампами накаливания с номинальным напряжением 220 В (жила и шина, при включении между которыми лампы не горят, принадлежат к одной фазе).
Следует помнить, что так как кабели представляют собой значительную емкость, после фазирования, прозвонки и испытания на их жилах сохраняется значительное напряжение, вызванное остаточным емкостным зарядом. Поэтому после каждой подачи напряжения на кабель его необходимо разряжать путем соединения каждой жилы с системой заземления.
Телеграмм канал для тех, кто каждый день хочет узнавать новое и интересное: Школа для электрика
Если Вам понравилась эта статья, поделитесь ссылкой на неё в социальных сетях. Это сильно поможет развитию нашего сайта!
Не пропустите обновления, подпишитесь на наши соцсети:
Прозвонка и подключение кабеля к оборудованию
Одним из наиболее ответственных этапов при монтаже оборудования является его подключение. От правильности выполненных работ по подключению зависит корректность работы монтируемого оборудования, реализация его функций в необходимом объеме и с требуемыми параметрами. В данной статье рассмотрим основные способы прозвонки кабеля, особенности подключения кабеля к оборудованию.
При проведении работ по монтажу нового оборудования одним из этапов проведения работ является прокладка цепей вторичной коммутации — кабельных и проводниковых электрических проводок, которые соединяют различные элементы оборудования. В данном случае цепи вторичной коммутации — это кабельные линии, которые соединяют элементы электрического оборудования с устройствами, осуществляющие управление этим оборудованием, его защиту и реализацию различных функций.
После того как все цепи проложены очередь подходит непосредственно к прозвонке и подключению кабеля между оборудованием.

Вообще понятие прозвонка подразумевает поиск соответствующих жил кабеля или провода с обоих концов. Например, проложенный контрольный кабель имеет 12 жил, каждая из жил должна выполнять свою функцию. Одна или несколько неправильно подключенных жил может привести к выходу из строя оборудования либо неправильную его работу в процессе эксплуатации, когда при необходимости реализации определенной функции, она не будет выполнена по причине неправильного подключения цепей.
Процесс прозвонки кабеля может отличаться в зависимости от местных условий и вида самого кабеля. Если кабельная линия одна, и все ее жилы имеют цветовую маркировку, то найти концы каждой жилы не составит труда — достаточно подключить кабель с обеих сторон по цвету жил. Если кабелей несколько, но они были промаркированы до начала монтажа, то во время подключения также не возникнет сложностей, так как кабеля промаркированы, а жилы имеют цветовую маркировку.
Ситуация усложняется, когда кабеля по той или иной причине не промаркированы, а жилы не имеют цветовой маркировки, либо несколько жил имеют одинаковую цветовую маркировку. В таком случае необходимо произвести прозвонку проложенных линий для идентификации всех жил с обоих концов.
Процесс прозвонки жил кабеля можно выполнять несколькими способами, в зависимости от расстояния между концами прозваниваемых жил. Если идет речь о прозвонке цепей внутри одного распределительного шкафа, панели защит, вторичных цепей оборудования, то прозвонку можно выполнить единолично, при помощи тестера.
В качестве тестера используется мультиметр в режиме прозвонки, а при отсутствии такого режима – в режиме измерения сопротивления. Также может использовать специально предназначенный для этого прибор для прозвонки проводов, низковольтный указатель напряжения с соответствующей функцией, а также самостоятельно изготовленный из батарейки, проводов со щупами требуемой длины, лампы или телефонных трубок.
Возможно также использование для прозвонки проводов мегомметра, но это достаточно опасно и не везде применимо, так как мегомметр работает на напряжении от 500 В.

Суть прозвонки заключается в контроле целостности. Например, мультиметр в режиме прозвонки одним щупом касается жилы кабеля с одной стороны кабеля, а другим щупом поочередно касаются жил с другой стороны кабеля.
Когда прибор показывает целостность жилы (соответствующие показания или звуковой сигнал), то значит, найдены оба конца одной жилы, их необходимо промаркировать.
Маркировка жил осуществляется путем вывешивания бирок, на которые маркером наносится маркировка. При монтаже большого количества цепей, для их маркировки при прозвонке могут использоваться специальные наборы с буквами и цифрами разного размера, которые одеваются на маркируемые жилы в различных комбинациях.
Обычно при проведении прозвонки, промаркированные жилы кабеля можно сразу подключать к оборудованию. Если это гибкий провод, то перед подключением концы жил необходимо оконцевать специальными наконечниками.
Если необходимо произвести прозвонку кабеля, проложенного на большие расстояния, в разных помещениях, то эту работу выполняют вдвоем. В данном случае для прозвонки жил кабеля используется металлическая оболочка кабеля либо металлические конструкции, которые электрически соединены между собой, или же одна из жил кабеля, концы которой с обоих концов уже найдены, например, промаркированная жила другого кабеля.
При прозвонке первый работник находится с одной стороны кабеля, он присоединяет один щуп прибора (мультиметра или тестера) к металлической оболочке кабеля, металлической конструкции или к уже промаркированной жиле, к этим элементам с другой стороны кабеля второй работник присоединяет одну из жил, которую требуется прозвонить. Первый работник вторым щупом прибора поочередно касается до жил кабеля, когда прибор покажет целостность, жила с обоих концов маркируется. Таким образом, производится прозвонка всех остальных жил.
Существует еще один способ прозвонки кабелей – при помощи специального трансформатора. Для этой цели используется трансформатор с несколькими значениями напряжения на выходе.
Общий вывод трансформатора подсоединяется к заведомо промаркированной жиле или к другим элементам, которые имеют электрическую связь, остальные выводы подключаются к нескольким жилам, которые необходимо промаркировать.
На другом конце кабеля берется вольтметр, и поочередно измеряются значения напряжения между жилами и общим проводом.
Например, с одной стороны жилы подключены к выводам трансформатора с напряжением 5, 10, 15, 20 В, значит с другой стороны кабеля на других концах этих же жил должны быть соответствующие значения напряжения.

Перед подключением трехфазного высоковольтного или низковольтного кабеля к оборудованию необходимо соблюдать правильное чередование фаз. Например, если секция шин питается от нескольких кабельных линий, то при подключении всех кабелей необходимо обеспечить правильное расположение фаз на выходе, чтобы не было короткого замыкания. Или же после проведения ремонта кабельной линии (установки кабельной муфты), на другом конце кабеля фазы могут оказаться в другом порядке.
Перед подачей напряжения по данному кабелю необходимо его «прозвонить», то есть убедиться в правильности чередования фаз. Данный процесс называется фазировкой.
Фазировка концов высоковольтного кабеля с оборудованием, к которому он должен подключаться, осуществляется при помощи специальных указателей напряжения для фазировки. Они представляют собой два указателя напряжения, соединенных между собой.
При проведении фазировки кабель остается не подключенным, его концы разводятся таким образом, чтобы было безопасно проводить фазировку, затем по кабелю и на участок оборудования, к которому его следует подключить, подается напряжение.
Далее поочередно прикасаются указателями между жилами и местами их подключения. Если указатель показывает наличие напряжения, то значит это разные фазы. Если указатель не показывает напряжения, то это значит, что фазировка данной жилы совпадает, и ее можно подключать к оборудованию.

Для фазировки кабелей напряжением до 1000 В применяют обычные двухполюсные указатели напряжения или вольтметра, рассчитанного на данное напряжение, и также подают напряжение на кабель и оборудование, к которому необходимо данный кабель подключить.
Поочередно прикасаясь к жилам и выводам оборудования, наблюдаем за показаниями указателя напряжения или вольтметра, наличие линейного напряжения свидетельствует о том, что это две разные фазы. Если показания отсутствуют, то это свидетельствует о том, что это точки с одинаковым потенциалом, то есть одинаковые фазы, значит, их можно соединять.
Телеграмм канал для тех, кто каждый день хочет узнавать новое и интересное: Школа для электрика
Если Вам понравилась эта статья, поделитесь ссылкой на неё в социальных сетях. Это сильно поможет развитию нашего сайта!
Не пропустите обновления, подпишитесь на наши соцсети: